为深入贯彻落实习近平总书记关于青年工作的重要思想,持续巩固和深化“全团抓思想政治引领”、“全团大抓基层”、“全团抓学校”工作部署,落实《关于改革创新高校共青团工作切实增强思想政治引领实效的若干措施》,郑州工业应用技术学院信息工程学院计算机科学与技术专业2021级1班团支部积极参加团中央所举办的2021年度河南省高校“活力团支部”风采展示活动;
团支部简介
21级计算机科学与技术1班团支部成立于2021年9月,现有在团人数32人,含积极分子15名。为了加强团支部建设,我团支部定期(两至三周一次)举行团支部会议,一上台演讲的形势,分别作个人的自我总结,班委总结。在宣传教育方面,每次团组织活动前,要求所有的团员积极主动地参与到其中。多名支部成员积极参加志愿者工作,尤其是疫情防控期间核酸志愿活动。班委定期开展班会,与同学们进行交流。支部成员上课积极,出勤率高。


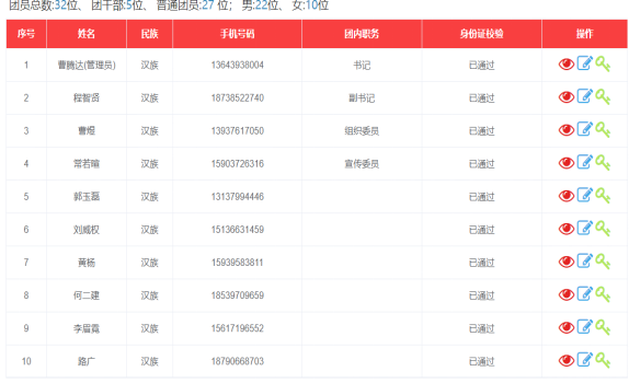
图为该团支部智慧团建建设
践行会议精神,创造辉煌成就
主题团日活动目的是进行对青年团员的教育及自我教育的过程,提高班级的凝聚力,去提高团员的综合素质。在团支书的日常工作中秉持为班级同学服务为宗旨,为同学们解决挫折,在每次的团日活动之中,始终围绕“听党话、跟党走、强信念”,以习近平新时代中国特色社会主义思想为指导,认真对待每次团课活动,让团员结合现实与自身悟真理、谈感想,不断提高同学们的思想高度,强化同学们的理想信念。展现了本团支部较高的组织力和引领力。

图为团员们参加主题团日活动
时刻关心他人,践行奉献精神
支部团员积极发挥模范作用,帮助同学克服困难,增强身心健康,到目前已经形成了同学们受欢迎、爱参与的服务项目;

图为积极分子正在为部分同学辅导功课
在课余时间,积极分子都会帮助学习能力较弱的同学们,给他们讲解习题,辅导功课。他们不辞辛劳,利用自己本就不多的时间去辅导同学,从来不求任何回报。现在,同学们的成绩稳步提升,大家都向积极分子看齐,形成了良好的学习风气。
热心发扬服务精神,积极参与疫情防控
团员积极参与志愿活动,为疫情防控工作尽一份力,发一份光。


图为支部团员刘梦欣参加志愿活动


图为支部团员获得的荣誉证书
支部团员在自己的家乡也十分的尽职尽责,在疫情期间,积极投入家乡疫情防控工作,做到了有求必应,为人民服务。支部团员参加志愿活动,获得了学校和家乡的认可,普遍认为我们是由责任的、有担当的一代,能够在群众需要的时候挺身而出,不怕困难。从这些图片中可以看出,本支部是有责任、有担当、会做事、能做事的团支部,能够切实的为群众服务。